Místní obsah a možnosti nákupu online zobrazíte výběrem jiné země nebo oblasti.
×
Boukal.SK
Kategória
Značky
    Blog
      Produkty
      Nenájdené žiadne produkty.

      Menu
      Stránky0Porovnať
      Hydraulický klinový rozpinák prírub 14 t Genborx HHP-1481 (GEN8906000001481)

      Hydraulický klinový rozpinák prírub 14 t Genborx HHP-1481 (GEN8906000001481)

      E-shop: GEN8906000001481
      Katalog: 8906000001481
      EAN: 8596386016121
      Hydraulický klínový rozpínák přírub Genborx HHP-1481 nabízí rozpínací sílu 14 tun, robustní konstrukci a snadné ovládání pro efektivní oddělování přírub v průmyslových aplikacích. Vhodný pro použití v údržbě, montáži i demontáži potrubních systémů.
      Na sklade (1 KS)
      Dotaz/Poptat
      490,08 EUR
      398,44 EUR bez DPH
      Stáhnout
      Kód: GEN8906000HHB700
      Ruční hydraulická pumpa Genborx HHB-700 (GEN8906000HHB700)
      Na sklade (2 KS)
      186,62 EUR / KS s DPH

      Hydraulický klinový rozpinák prírub 14 t Genborx HHP-1481 (GEN8906000001481)

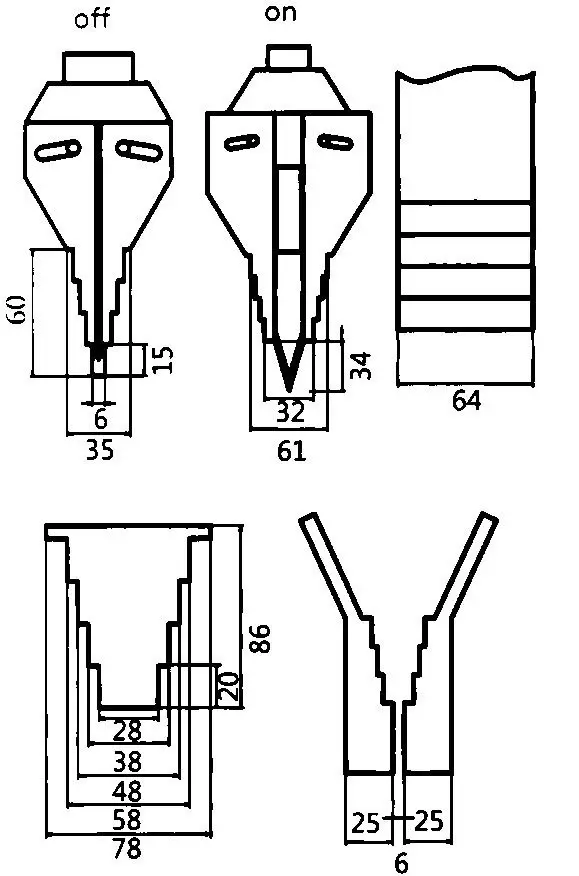
      • Max. rozpínacia sila [t]: 14
      • Hrúbka špičky [mm]: 6
      • Max. rozopnutie [mm]: 81
      • Množstvo olejovej náplne [cm3]: 70
      • Rozmery (balenie) [mm]: 310 × 160 × 120
      • Hmotnosť [kg]: 10,2

      Hydraulický rozpinák prírub Genborx - klinový

      • Hydraulický klinový rozpinák prírub (14 t) umožňuje rýchle a bezpečné oddialenie prírub pri výmene ich tesnení, pri opravách potrubných armatúr, pri demontáži prírubových spojení strojov atď.
      • Vysokotlakový, hydraulický rozpinák prírub s maximálnou rozpínacou silou 14 t
      • Kvalitná hydraulika
      • Vysoká maximálna rozpínacia sila
      • Klinový posuv bez trenia, plynulý a paralelný
      • Použitie klinového rozpínača na zníženie poškodenia prírub na minimum
      • Vysoká prevádzková spoľahlivosť a dlhá životnosť
      • Ako zdroj tlaku sa spravidla používa ručná hydraulická pumpa, napr. HHB-700 alebo obdobná
      • Dodávané v praktickom kovovom kufríku
      0%
      Celkom hodnotilo 0 zákazníkov
      Produkt doteraz nikto nehodnotil.

      Súhlas so spracovaním osobných údajov je povinné pole

      Zatvoriť

      Hodnotenie odoslané

      Ďakujeme za vaše hodnotenie. Po schválení obsahu bude zobrazené pri produkte.

      Požiadavka nemôže byť momentálne odoslaná. Skúste to znova neskôr.
      Chcete nám niečo povedať o našich produktoch alebo e-shope? Neváhajte napísať.
      Správa bola odoslaná

      Košík obsahuje nepovolené položky

      Košík je prázdny

      Soubor stažen